주식회사 숨비, 모바일 드론운용 시스템 특허
저작자 : 강기봉 freekgb@gmail.com
기술을 중심으로 한 중소기업은 전략적으로 지식재산을 취득 및 관리하면서 이를 통해 기술 경쟁력을 높이고, 홍보효과를 높이며, 기업가치를 제고하여 투자수요를 창출하는 등의 효과를 얻을 수 있습니다. 아래 기사는 주식회사 숨비(http://www.soomvi.com/)의 특허발명에 관하여 기술하고 있습니다. 주식회사 숨비의 몇 건의 모바일 드론운용 시스템 관련 특허에 대해서 간략하게 살펴보겠습니다.
함수미 기자, "숨비, DMS-3 특허로 드론 구조 골든타임 지킨다", 산업단지신문, 2021.11.23. 자 https://www.hellot.net/news/article.html?no=63624
숨비, DMS-3 특허로 드론 구조 골든타임 지킨다
헬로티 함수미 기자 | 숨비는 전원공급 기능을 포함한 소형 통합관제시스템 ‘DMS-3’에 대한 국내 특허를 취득했다고 밝혔다. 해당 특허 기술은 드론 운영시스템을 픽업트럭에 설치해 산길이나
www.hellot.net
□ 주식회사 숨비의 지식재산 : http://www.soomvi.com/ko/?c=173
- 특허 : 총 11건
- 해외특허 : 총 7건
- 상표 및 서비스표 : 상표 2건 및 서비스표 2건
- 디자인 : 총 11건
- 저작권 등록 : 총 11건
□ 모바일 드론운용 시스템 관련 특허
아래 자료는 특허정보넷 키프리스(http://www.kipris.or.kr)의 등록특허공보에서 발췌한 것입니다.
▶ 전원공급 기능이 구비된 드론운용 시스템
(21) 출원번호/일자 1020200009647 (2020.01.28)
(71) 출원인 주식회사 숨비
(11) 등록번호/일자 1023179540000 (2021.10.21)
(65) 공개번호/일자 1020210096707 (2021.08.06)공개전문 다운로드
(11) 공고번호/일자 (2021.10.28)
요약
본 발명의 특징에 따르면, 실내공간에 전열좌석(11)과 후열좌석(12)이 마련되고 후미에 상향 개구된 적재함(13)이 마련된 픽업트럭(10)에 설치되어 드론(20)을 운용하는데 이용되는 전원공급 기능이 구비된 픽업트럭용 드론격납고에 있어서, 상기 드론(20)을 수용하기 위한 내부공간이 마련되고 상기 내부공간의 상부는 개구되어 수용된 드론(20)이 출입하는 통로를 형성하며 하부가 상기 적재함(13)에 삽입되어 고정장착되는 격납본체(110); 전기에너지를 생성하는 발전기(420); 및 상기 격납본체(110)의 내부에 배치되어 발전기(420)로부터 생성된 전기에너지를 공급받으며, 일측은 드론(20)에 연결되고 타측은 내부에 권취되는 전원케이블(412)이 구비되어 발전기(420)에서 생성된 전기에너지를 전원케이블(412)을 통해 드론(20)에 공급하는 유선전원공급기(410);를 포함하는 전원공급 기능이 구비된 픽업트럭용 드론격납고가 제공된다.
대표도면

추가 도면

▶ 드론운용 시스템
(21) 출원번호/일자 1020200009648 (2020.01.28)
(71) 출원인 주식회사 숨비
(11) 등록번호/일자 1023179550000 (2021.10.21)
(65) 공개번호/일자 1020210096708 (2021.08.06)공개전문 다운로드
(11) 공고번호/일자 (2021.10.28)
요약
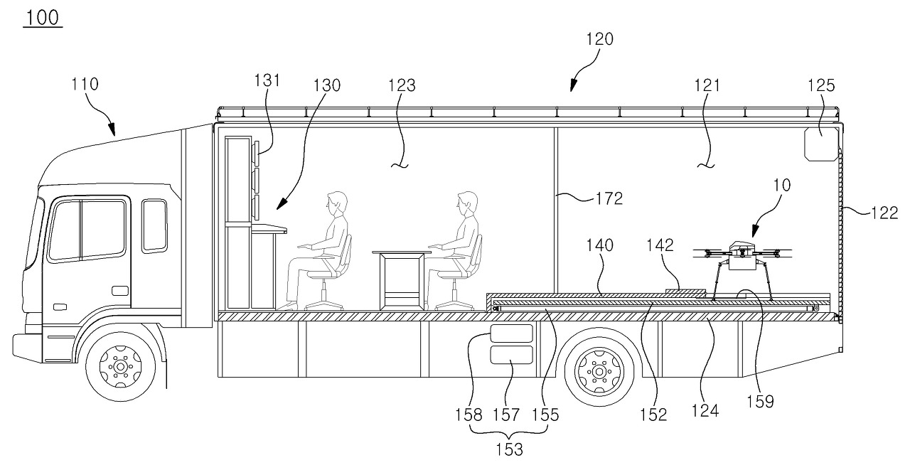
본 발명의 특징에 따르면, 실내공간에 전열좌석과 후열좌석이 마련되고 후미에 상향 개구된 적재함이 마련된 픽업트럭에 설치되어 드론을 운용하는데 이용되는 드론운용 시스템에 있어서, 상기 후열좌석에 배치되고 드론을 비행제어하기 위한 제어신호를 출력하고 드론으로부터 전송되는 영상을 디스플레이(310)에 표시하는 지상통제장치; 및 드론을 수용하기 위한 내부공간이 마련되고 상기 내부공간의 상부는 개구되어 수용된 드론이 출입하는 통로를 형성하며 하부가 상기 적재함에 삽입되어 고정장착되는 격납본체와, 상기 격납본체의 상부에 장착되고 슬라이딩하거나 회동하면서 개구된 통로를 개폐하는 격납커버 및, 상기 격납커버가 개폐동동작하는데 필요한 구동력을 제공하는 개폐구동부를 포함하는 격납고;를 포함하는 드론운용 시스템이 제공된다.
대표도

추가 도면

제품 이미지 : 주식회사 숨비, http://www.soomvi.com/ko/?c=169&s=218

▶ 드론 모바일 스테이션
(21) 출원번호/일자 2020190000364 (2019.01.24)
(71) 출원인 주식회사 숨비
(11) 등록번호/일자 2004928010000 (2020.12.07)
(65) 공개번호/일자 2020200001720 (2020.08.03)공개전문 다운로드
(11) 공고번호/일자 (2020.12.11)
요약
본 고안의 특징에 따르면, 도로를 따라 이동가능한 이동차량(110); 상기 이동차량(110)에 적재되며 드론(10)을 수용하기 위한 공간을 제공하며 개폐가능한 출입문(122)이 구비된 드론대기실(121) 및, 드론(10)의 비행제어와 모니터링을 위한 공간을 제공하는 통제실(123)이 내부에 각각 마련된 함체부(120); 상기 통제실(123) 내에 배치되고 드론(10)과 신호연결되어 비행제어하며 드론(10)으로부터 수신된 영상을 디스플레이(131)에 표시하는 지상통제장치(130); 답압이 가능한 강도를 가지며 상기 드론대기실(121)의 바닥판(124)을 커버하도록 수평배치되고, 상기 바닥판(124)으로부터 상향 이격되어 바닥판(124)과의 사이에 이격공간(S)을 형성하는 답압판(140); 및 상기 이격공간(S) 내에서 출입문(122)을 향해 연장된 레일(151)과, 상기 레일(151)에 지지되어 슬라이딩 이동하면서 상기 출입문(122)을 통해 외부로 노출되어 상부에 드론(10)의 이착륙공간을 제공하는 인출판(152) 및, 상기 인출판(152)이 슬라이딩 이동하는데 필요한 구동력을 제공하는 인출구동부(153)를 포함하는 드론인출수단(150);을 포함하는 드론 모바일 스테이션이 제공된다.
대표도

▶ 드론 모바일스테이션을 이용한 안전관리 시스템
(21) 출원번호/일자 1020160168265 (2016.12.12)
(71) 출원인 주식회사 숨비
(11) 등록번호/일자 1018889300000 (2018.08.09)
(65) 공개번호/일자 1020180067014 (2018.06.20)공개전문 다운로드
(11) 공고번호/일자 (2018.08.16)
요약
본 발명의 특징에 따르면, 감시영역(R)에 대한 감시영상을 획득하고 이를 모니터링하기 위한 드론 모바일스테이션을 이용한 안전관리 시스템에 있어서, 제어신호에 따라 감시영역(R)의 상공을 비행하면서 촬영한 감시영상을 제1통신망(10)을 통해 전송하는 드론(100); 도로를 따라 이동가능하며 상기 드론(100)을 수용하기 위한 콘솔함(220)이 마련된 이동차량(210) 및, 상기 콘솔함(220) 내에 배치되고 제1통신망(10)을 통해 상기 드론(100)과 신호연결되어 드론(100)을 비행제어하기 위한 제어신호를 전송하며 수신된 감시영상을 제2통신망(20)을 통해 전송하고 모니터링 디스플레이(232)에 화면표시하는 지상통제장치(230)를 포함하는 드론 모바일스테이션(200); 상기 제2통신망(20)을 통해 하나 이상의 드론 모바일스테이션(200)과 신호연결되어 각 감시영상을 수신하여 취합관리하는 메인서버(300); 및 상기 메인서버(300)에 접속하여 각 드론 모바일스테이션(200)의 감시영상을 개별적 또는 통합적으로 모니터링할 수 있도록 화면표시하는 모니터링단말(400);을 포함하는 드론 모바일스테이션을 이용한 안전관리 시스템이 제공된다.
대표도
