천체 관측 및 망원경 관련 특허발명
저작자 : 강기봉 freekgb@gmail.com
별, 행성 등을 관할할 때 천체 망원경을 사용합니다. 천체 망원경을 활용하여 전체를 잘 관찰하기 위해서 이와 관련한 기술이 개발되고 있습니다. 아래 발명들은 이와 관련한 몇 가지 발명들입니다. 좀더 효율적이고 효과적으로 관측하기 위해서 천체 관측을 위한 천문대의 개선, 천체 망원경 자체의 기능 향상, 천체 관측 기술의 향상 등을 할 수 있습니다.
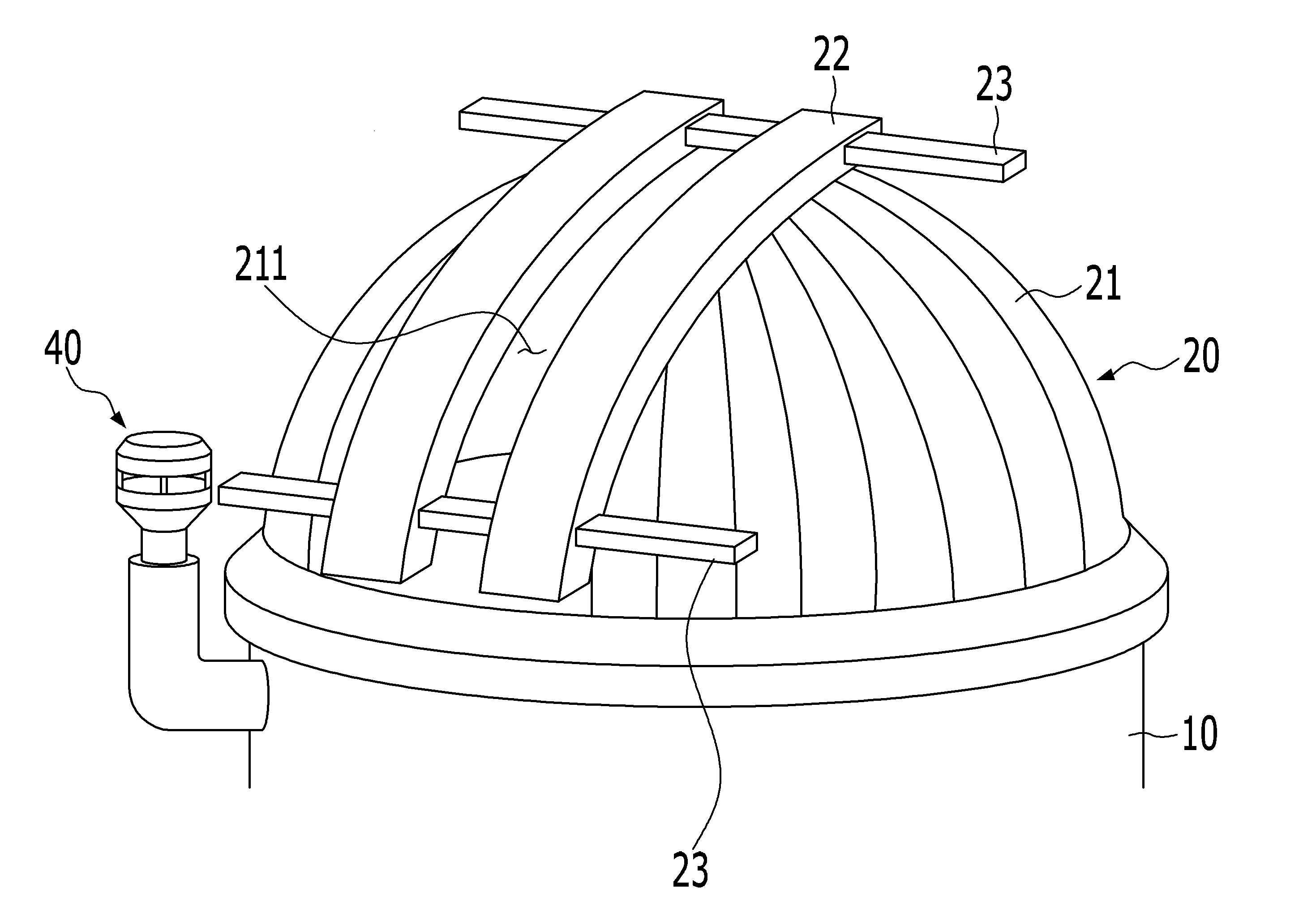
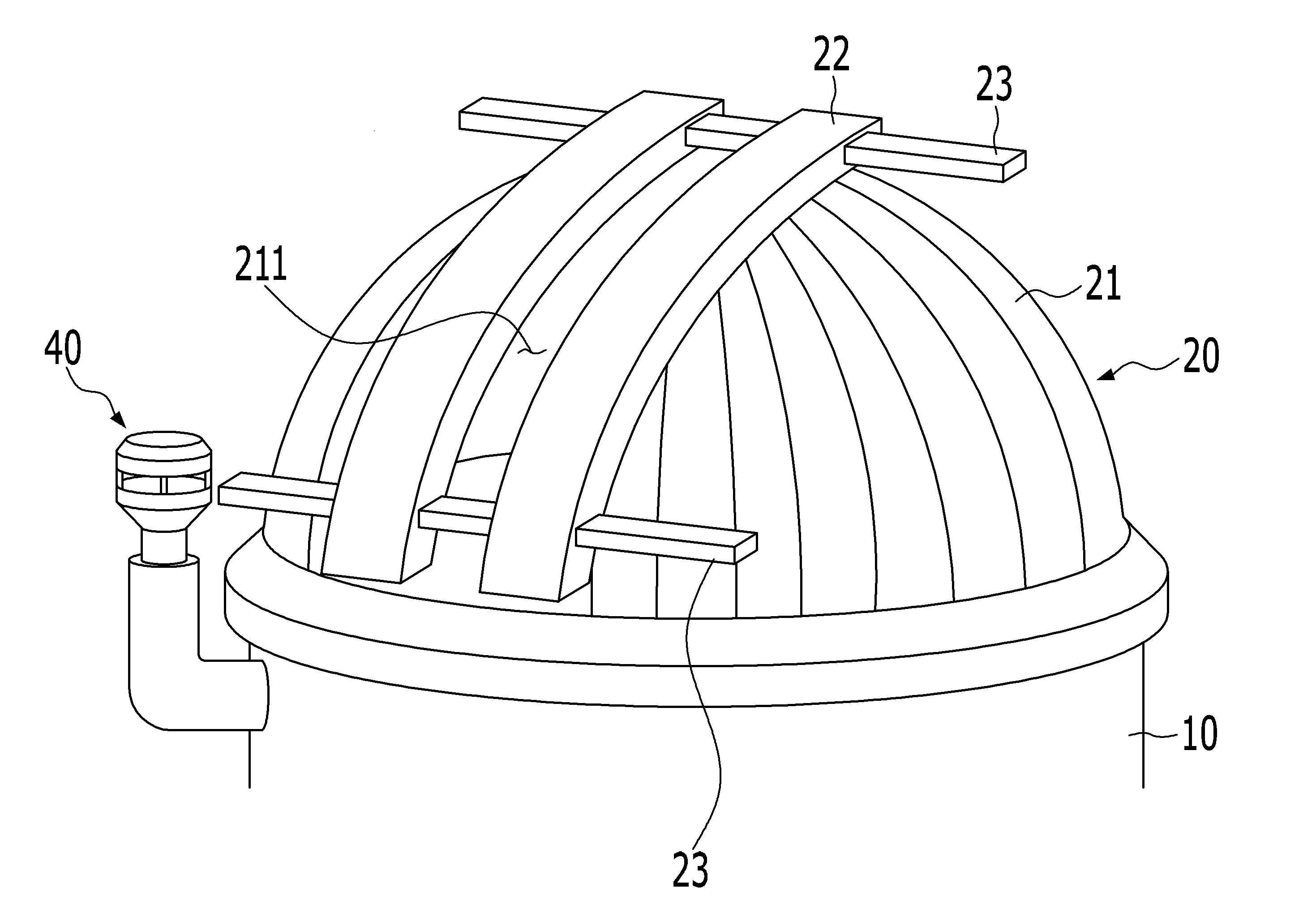
□ 천체 관측 환경 : 내풍압 기능이 향상된 천문대
(21) 출원번호/일자 1020180174123 (2018.12.31)
(71) 출원인 주식회사 에스엘랩
(11) 등록번호/일자 1021512240000 (2020.08.27)
(65) 공개번호/일자 1020200082980 (2020.07.08)
(11) 공고번호/일자 (2020.09.02)
(57) 요약
내풍압 기능이 향상된 천문대에 관한 것으로, 엔클로저(20)의 회전을 제어하는 제어부(50)가 풍속풍향 측정부(40)로부터 풍속 데이터 및 풍향 데이터를 수신한 데이터를 기반으로 엔클로저(20)의 개구부(211)가 엔클로저(20)의 외주면 중 바람을 마주하는 면과 엔클로저(20)의 회전축을 기준으로 대칭된 지점에 위치하도록 엔클로저(20)를 회전시킴으로써, 엔클로저(20)의 개폐도어(20)에 미치는 풍압을 최소화시켜 바람에 의해 개폐도어(20)이 개방되는 사고를 방지할 수 있고 이로 인한 천문대의 사용수명을 연장할 수 있다.
[대표도]

□ 천체 관측 망원경 기능 : 적도의식 망원경
(21) 출원번호/일자 1020120023333 (2012.03.07)
(71) 출원인 주식회사 메타스페이스
(11) 등록번호/일자 1014152880000 (2014.06.27)
(65) 공개번호/일자 1020130102246 (2013.09.17)
(11) 공고번호/일자 (2014.07.04)
(57) 요약
본 발명은 천체를 추적하는 것이 가능하고 접안 렌즈의 위치가 고정된 적도의식 망원경을 제공하는 것을 목적으로 하고, 시야 방향이 극축에 평행한 망원경 본체, 상기 망원경 본체의 시야 방향 전방에 결합되고 적위 방향으로 회전 가능한 적위 거울, 상기 망원경 본체를 지지하는 지지대, 및 상기 적위 거울을 적경 방향으로 회전시키는 트랙킹부를 포함하는 것을 특징으로 하는 적도의식 망원경을 제공한다.
[대표도]

□ 천체 관측 망원경 기능 : 우주물체 전자광학 감시시스템의 검출기 데이터 감소를 위한 자료처리방법
(21) 출원번호/일자 1020140105859 (2014.08.14)
(71) 출원인 한국 천문 연구원
(11) 등록번호/일자 1015960190000 (2016.02.15)
(11) 공고번호/일자 (2016.02.19)
(57) 요약
본 발명은 우주물체 전자광학 감시시스템(Optical Wide-field Patrol system)에 관한 것으로, 본 발명에 따르면, 우주물체나 행성의 이동궤적 관찰 및 우주쓰레기로 인한 피해를 방지하기 위해, 우주쓰레기 및 우주물체나 행성 등과 같은 이동물체의 궤적을 보다 용이하고 정확하게 관측할 수 있도록 구성되는 우주물체 전자광학 감시시스템이 제공되며, 또한, 상기한 바와 같은 우주물체 전자광학 감시시스템의 검출기 시스템에서 처리해야할 데이터를 감소하여, 보다 효율적인 관측이 가능하도록 하기 위한 우주물체 전자광학 감시시스템의 검출기 데이터 감소를 위한 자료처리방법이 제공된다.
[대표도]

□ 천체 관측 기술 : 태양추적장치 및 그 운영방법
(21) 출원번호/일자 1020120134082 (2012.11.24)
(71) 출원인 류지연
(11) 등록번호/일자 1013046470000 (2013.08.30)
(65) 공개번호/일자
(11) 공고번호/일자 (2013.09.06)
(57) 요약
본 발명은 태양에너지 수집장치가 장시간 천구상에서 이동하는 태양의 경로를 추적할 수 있도록, 일주운동 및 연주운동에 의한 천구상의 태양의 위치변화에 따라 방위각과 고도를 조절하는 태양추적장치 및 그 운영방법에 관한 것이다.
본 발명에 따른 태양추적장치는 적경과 적위를 담당하는 2개의 회전축을 설치하되, 상기 회전축들이 서로 독립된 운동을 하는 것이 아니라, 하나의 회전축이 다른 하나의 회전축에 종속적으로 움직이도록 하는데, 이때 상기 종속관계는 태양의 일주운동과 연주운동의 상관관계를 따르도록 기구적으로 구속함으로써, 결과적으로 하나의 액츄에이터를 가지고 태양의 일주운동을 추적할 뿐 아니라, 동시에 절기에 따라 남중고도가 변화하는 연주운동을 보상하도록 하는 것을 특징으로 한다.
본 발명에 따른 태양추적장치 및 그 운영방법을 사용하면, 하나의 액츄에이터를 통해 태양의 일주운동과 연주운동을 동시에 추적할 수 있으므로, 태양광발전 효율을 극대화하면서, 초기설치비용과 유지보수비용을 절감할 수 있다.
[대표도]

□ 천체 관측 기술 : 천체 자동 추적장치
(21) 출원번호/일자 1020190010056 (2019.01.25)
(71) 출원인 이수연
(11) 등록번호/일자 1019982430000 (2019.07.03)
(65) 공개번호/일자
(11) 공고번호/일자 (2019.07.09)
(57) 요약
GPS가 없는 곳에서도 천체망원경을 이용하여 천체를 자동으로 추적할 수 있도록 한 천체 자동 추적장치에 관한 것으로서, 시간 및 탐색하고자 하는 천체 정보를 입력하며, 관측 정보를 입력하는 입력부, 천측력 데이터가 저장된 천측력 데이터베이스, 입력부를 통해 입력된 관측 정보와 상기 천측력 데이터베이스에 저장된 천측력 데이터를 이용하여 탐색하고자 하는 천체의 위치를 연산하고, 연산 결과를 기초로 천체망원경의 이동을 제어하는 천체 추적 제어부, 천체 추적 제어부와 연동하여 상기 천체망원경의 이동력을 발생하는 천체망원경 구동부 및 천체망원경 구동부에서 발생한 이동력에 따라 상부에 올려진 천체망원경을 추적된 천체 방향으로 이동시키는 천체망원경 이동부를 포함하여, 천체 자동 추적장치를 구현한다.
[대표도]

※ 위 내용들은 특허정보넷 키프리스(http://www.kipris.or.kr/)에서 인용하였습니다.