저작자 : 강기봉 freekgb@gmail.com
아래 기사에서는 마술에 대하여 저작권, 상표, 특허 등에 의해 보호받을 수 있다고 합니다. 다만, 마술과 관련한 특정한 요소들이 저작권법, 상표법, 특허법 등에서 요구하는 요건에 맞는 경우에 해당 법률의 내용에 따라 보호를 받게 됩니다.
예를 들어 마술을 관람객들 앞에서 행하는 것은 '특정한 내용으로 구성된 마술(저작물)'에 대한 일종의 공연으로 이러한 마술을 저작물(마술 공연에 대해 연극저작물 또는 마술에 대한 기획 및 내용에 관한 글에 대해 어문저작물)로 보호할 수 있을 것이고, 특정한 마술의 명칭은 상표로 등록하여 상표법에 의해 보호받을 수 있으며, 마술과 관련한 도구 등을 실용신안이나 특허로 등록하여 실용신안법이나 특허법에 의해 보호받을 수도 있습니다. 또한 마술을 위한 의류나 도구와 관련한 디자인은 디자인으로 등록하여 디자인보호법에 의해 보호받을 수도 있습니다. 이외에도 마술에 관한 기술을 영업비밀로 관리하면 부정경쟁방지 및 영업비밀보호에 관한 법률에 의해 보호받을 수 있습니다.
이진수 기자, 마술사분들 알아두세요..."저작권법, 상표법, 특허법 보호 가능", 더리포트, 2021.10.22. 자 http://www.thereport.co.kr/news/articleView.html?idxno=13181
마술사분들 알아두세요..."저작권법, 상표법, 특허법 보호 가능" - 더리포트
[더리포트=이진수기자] 공연법은 예술의 자유 보장 및 건전한 공연활동 진흥을 위해 공연에 관한 사항을 규정한 법이다. 여기서 공연이란 음악·무용·연극·연예·국악·곡예 등을 말한다. 마술
www.thereport.co.kr
이 중에서 마술에 관한 도구 등을 발명하면 이 발명을 실용신안이나 특허로 등록하여 보호받을 수 있는데, 현재 특허정보넷 키프리스(http://www.kipris.or.kr)에서 마술로 검색하면 대체로 실용신안으로 등록한 경우가 많고, 특허로 등록된 경우는 많지는 않습니다. 그리고 이렇게 등록된 실용신안이나 특허의 경우도 몇 년 동안만 등록하고 더 이상 등록하지 않아 소멸된 경우가 많습니다. 그렇지만 실용신안이나 특허로 등록하여 현재 유지되고 있는 발명도 있습니다.
특허제도(실용신안 제도도 동일)는 기술적 사상을 공개해야 하기 때문에 마술에 대한 기술을 공개하기 꺼려할 수 있고, 업으로서가 아닌 개인적인 실시는 특허권 침해로 보지 않으며, 마술에 대한 권리 침해의 경우에도 그 권리의 보호가 용이하지 않기 때문인 것으로 생각됩니다. 그렇지만 마술에 관한 도구나 이를 이용한 기술을 실용신안이나 특허로 등록하면 해당 발명을 10년 또는 20년 동안 독점할 수 있다는 점에서 효용성이 있다고 할 수 있습니다. 마술 관련 발명에 대한 발명자가 이것을 실용신안이나 특허로 등록한 후에 몇 년 동안 이를 유지하였다는 점은 이런 효용성을 반증하는 것일 수도 있습니다.
등록된 마술 관련 특허와 실용신안의 예들은 아래와 같습니다.
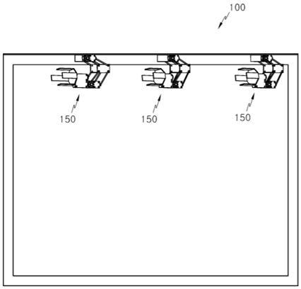
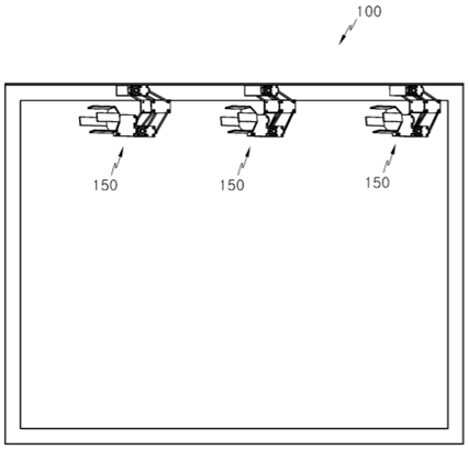
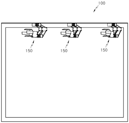
□ (특허) 디스플레이와 연동되는 마술 로봇장치
- 출원번호/일자 1020150061581 (2015.04.30)
- 출원인 로보링크 주식회사
- 등록번호/일자 1016594000000 (2016.09.19)
- 요약
본 발명은 모니터의 이미지와 실물인 마술 아이템의 이동을 서로 연동하여 다양한 상황을 연출할 수 있으며, 마술의 전 과정을 무선조정에 의해 자동으로 수행할 수 있는 디스플레이와 연동되는 마술 로봇장치에 관한 것이다.
종래의 마술 용구는 단순한 시연으로 인해 금방 싫증이 나며, 하나의 용구로 하나의 마술을 시연하기 때문에 다양한 상황을 연출할 수 없는 문제점이 있는데, 이를 해결하기 위하여 본 발명은 전면에는 마술을 위한 아이템(200)을 이미지(51)로 표현하는 디스플레이(50)가 구비되고, 상측에는 내부에 구비된 복수의 아이템(200)을 외부로 노출하거나 내부로 삽입할 수 있도록 복수의 관통부(101)가 형성되며, 상기 관통부(101)의 하측에는 마이크로 컨트롤러(30)의 제어신호에 따라 상기 아이템(200)을 승강하거나 회전에 의해 교체할 수 있도록 구성된 복수의 로봇암(150)이 각각 결합되되, 상기 디스플레이(50)는 터치스크린으로 구성되어 이미지2(52)를 터치하면 변형이미지(53)로 전환되고, 상기 마이크로 컨트롤러(30)에서는 컴퓨터(40)를 통해 변형이미지(53)에 대한 정보를 전달받아, 상기 변형이미지(53)와 연동되도록 로봇암(150)의 회전부재(140)를 회전시켜 해당되는 변형아이템(220)을 승강시키는 것을 특징으로 한다.
따라서 본 발명은 이미지를 구현하는 디스플레이와 아이템을 자동으로 교체하고 이동시키는 로봇암을 서로 연동하여 작동시킴으로써 더욱 다양한 마술을 구현할 수 있다. 또한, 마술의 전 과정을 무선조정과 컴퓨터 프로그램에 의해 자동으로 구현함으로써 어린이 및 학생들의 과학적 호기심을 증진시킬 수 있다.

□ (실용신안) 다기능 마술 가방 (등록료불납으로 소멸됨)
- 출원번호/일자 2020060016496 (2006.06.19)
- 출원인 박수용
- 등록번호/일자 2004350150000 (2006.12.27)
- 요약
본 고안은 마술가방에 관한 것으로서 더 상세하게는 마술용품의 수납가방으로 사용될 수 있을 뿐만 아니라 마술 공연 시 공연 테이블로도 편리하게 사용될 수 있고 마술가방에 마술 공연상의 기술적인 장치를 설치하여 별도의 장치가 없이도 편리하게 마술공연을 할 수 있는 가방; 상기 가방을 눕혀 놓을 경우 하방을 향하는 면의 네 귀퉁이에 구비된 다리체결부재; 및 상기 다리체결부재에 탈, 부착이 가능하고 높낮이가 조절되게 결합되는 다리; 를 포함하여 구성한 것을 특징으로 하며,◈ 본 고안에 의하면 마술가방에 마술용품을 수납하여 안전하게 운반 및 보관할 수 있을 뿐만 아니라,
▶ 마술공연 테이블로서도 편리하게 사용될 수 있고
▶ 공연하는 사람의 신장 차이에 따라 가방다리의 높낮이를 조절함으로서 공연테이블의 높이를 조절하여 별도의 높이조절 장치가 없이도 편리하게 공연할 수 있고,
▶다리의 탈부착이 가능함으로서 이동시 다리를 분리하여 이동할 때 편리하고 공구가방이나 서류가방 등 다른 용도의 가방으로도 사용할 수 있다.
▶ 별도의 기술적인 장치나 넓은 공간이 없어도 간단하고 편리하게 마술공연을 할 수 있는 등의 다양한 효과가 있다.

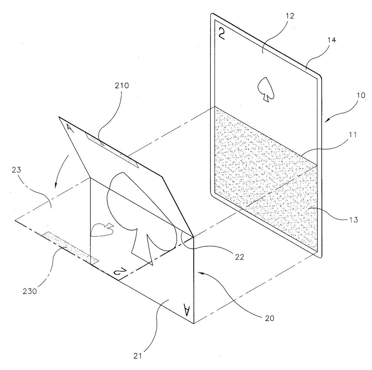
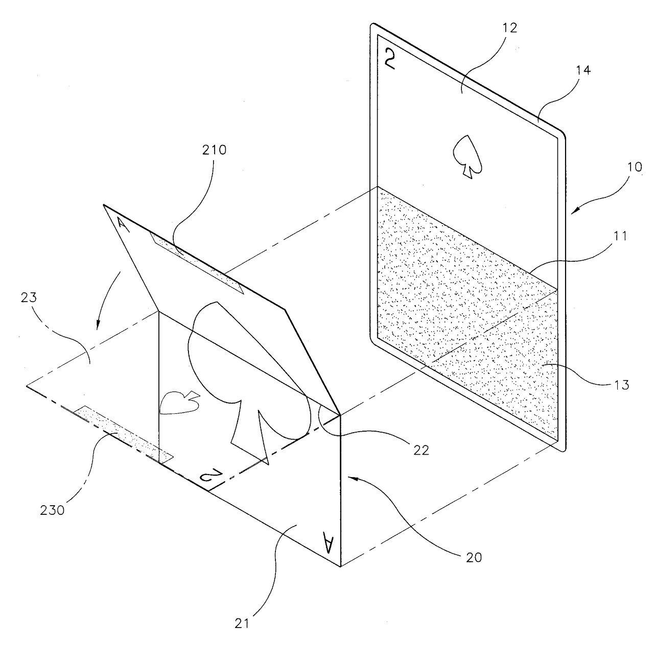
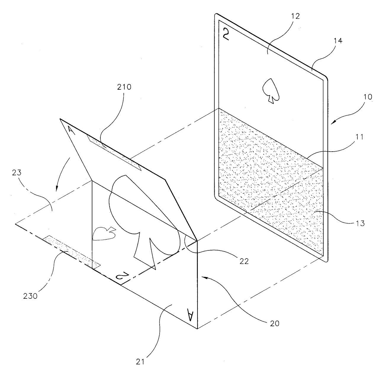
□ (실용신안)카드마술용 특수카드 (등록료불납으로 소멸됨)
- 출원번호/일자 2020030010638 (2003.04.08)
- 출원인 홍성환
- 등록번호/일자 2003176640000 (2003.06.12)
- 요약
본 고안은 카드마술용 특수카드에 관한 것으로, 그 목적은 카드에 표시된 문자나 도형의 모양을 누구나 손쉽게 변환시킬 수 있도록 한 카드마술용 특수카드를 제공함에 있다.
이에, 본 고안은 일측면에 가로방향으로 구획선이 형성되고, 그 상측에는 제1표시부가 인쇄되며, 하측에는 접착부가 형성된 카드본체와; 상기 카드본체의 일측에 구비되며, 앞면의 전체에는 제2표시부가 인쇄되고, 상기 구획선과 동일선상에 접힘선이 형성되며, 뒷면에는 상기 접힘선의 상측으로 상기 제1표시부와 대응되는 제3표시부가 인쇄되고, 그 하측은 상기 접착부에 부착되는 매직시트로 구성된 것을 특징으로 한다. 따라서, 종래와는 달리 고도의 손기술을 익힐 필요없이 누구나 손쉽게 카드마술을 즐길 수 있는 효과를 가진다.

'특허권 분야 > 조이풀 특허법' 카테고리의 다른 글
| 권리범위 확인심판과 특허의 무효심판 (0) | 2021.11.23 |
|---|---|
| 선행발명과 발명의 동일성을 판단하는 기준 (0) | 2021.11.09 |
| 특허심판 사건에 전문심리위원 참여 (0) | 2021.10.23 |
| 우리가 잘 아는 빵집의 빵 특허발명 (0) | 2021.10.15 |
| 영국 항소법원, AI인 DABUS는 발명자가 될 수 없다 (0) | 2021.10.13 |
